Nghiệp vụ

IT

Người lập

Người duyệt

Người lập

Người duyệt

Tên, Chức danh





Ngày ký





Jira Link

[BPMKVH-5455] Ký số và phát hành hợp đồng (tự động convert) - Jira

1. Card (Mô tả tính năng)

Là nhân viên kế hoạch - tổng hợp, Tôi muốn hợp bản word được tự động convert sang pdf

2. Confirmation/ Acceptance Criteria (Tiêu chí nghiệm thu)

  1. Nhân viên Kế hoạch - tổng hợp có thể khởi tạo thực hiện ký số hợp đồng  
        • File hợp đồng: Tự động đính kèm file hợp đồng định dạng pdf

3. Conversation (Mô tả chi tiết)

3.1 UIUX:


3.2 Luồng:

3.3 API Spec: <gắn link tài liệu mô tả API vào đây>


4, Mô tả các trường dữ liệu trên màn hình:

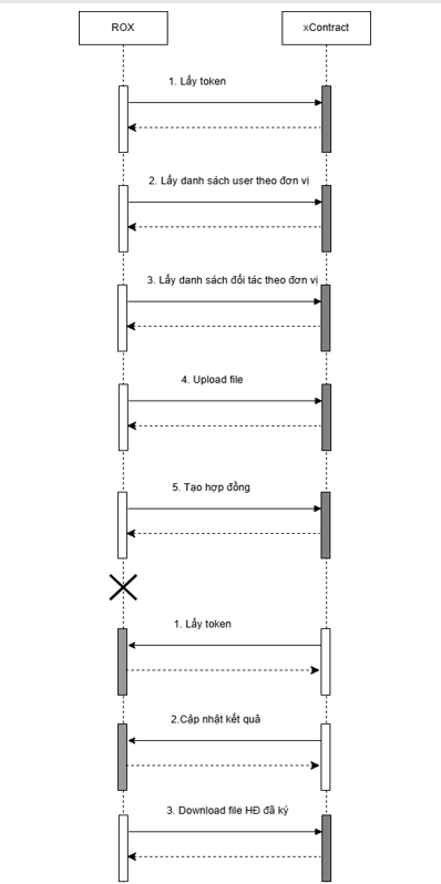
Tại màn hình quy trình A1.11 bước "Nhân viên KHTH trình ký và phát hành hợp đồng" bổ sung thêm chọn ký số. Sau khi chọn ký số mở ra màn hình "Ký số hợp đồng"

4.1. Màn hình ký số

STT

Field

(Trường dữ liệu)

Type

(Kiểu dữ liệu)

Required

(Bắt buộc)

Validation

(Quy định)

Description

(Mô tả)


Đơn vị nhà cung cấp ký sốLựa chọn (Droplist)Bắt buộc
  • Nguồn dữ liệu lấy từ danh mục nhà cung cấp
  • Để mặc định nhà cung cấp Cyber
  • Cho phép chỉnh sửa thông tin
Hiển thị thông tin tên nhà cung cấp của ký số

Tên chủ đầu tưVăn bản (Text)Bắt buộcHiển thị thông tin tên chủ đầu tư ký hợp đồng

Mã số thuếVăn bản (Text)Bắt buộcHiển thị thông tin mã số thuế chủ đầu tư ký hợp đồng

Tên hợp đồngVăn bản (Text)Bắt buộcHiển thị thông tin tên hợp đồng

Số hợp đồngVăn bản (Text)Bắt buộc
  • Cho phép nhập/chỉnh sửa thông tin
Hiển thị thông tin số hợp đồng

Hợp đồng đính kèmIframeBắt buộc
  • Nguồn dữ liệu: hệ thống tự động lấy file từ trường "Tài liệu đính kèm Soạn thảo hợp đồng" chuyển sang định dạng file PDF
  • Cho phép người dùng sửa/xóa
Hiển thị file tài liệu hợp đồng

Tài liệu đính kèmIframeKhông bắt buộc
  • Nguồn dữ liệu: hệ thống tự động lấy file từ trường "Tài liệu đính kèm Phụ lục hợp đồng" chuyển sang định dạng file PDF
  • Cho phép người dùng sửa/xóa
Hiển thị file đính kèm theo hợp đồng

Kết quả Văn bản (Text)Không bắt buộc
  • Chỉ hiện thị khi hệ thống tự động cập nhật kết quả từ Cyber với trạng thái "Bị từ chối/Hết hạn" 
  • Với trạng thái "Bị từ chối/Hết hạn" hệ thống sinh lại công việc ký số lần 2
  • Không cho thêm/sửa/xóa
Hiển thị kết quả ký hợp đồng

Lý doVăn bản (Text)Không bắt buộc
  • Hệ thống tự động cập nhật lý do tương ứng với trạng thái ký (trong trường hợp lỗi hoặc từ chối ký)
  • Không cho phép thêm/sửa/xóa
Hiển thị lý do của trạng thái ký số hợp đồng

Tiếp nhận

Button

 

 

Tham chiếu tài liệu URD


Lưu nháp

Button

 

 

Tham chiếu tài liệu URD


Tạm dừng

Button

 

 

Tham chiếu tài liệu URD


Tiếp tục

Button



Tham chiếu tài liệu URD


Hoàn thành

Button

 

Khi nhấn nút hệ thống kiểm tra:

  • Hệ thống kiểm tra trường bắt buộc

TH1: Khi nhấn "Hoàn thành" thành công→ hệ thống hiện pop-up xuất hiện nút bấm sang Cyber. Chi tiết màn hình 4.1.1

TH2: Khi nhấn hoàn thành và lỗi hệ thống (khi call API từ BPM→ Cyber), xuất hiện pop-up thông báo lỗi và hệ thống tự động lưu nháp (chưa có chi tiết lỗi). Chi tiết màn hình 4.1.2

Tham chiếu tài liệu URD



4.1.1 Màn hình pop-up ký số 

STT

Field

(Trường dữ liệu)

Type

(Kiểu dữ liệu)

Required

(Bắt buộc)

Validation

(Quy định)

Description

(Mô tả)


Hợp đồng đã được khởi tạo ký số thành công.
Vui lòng nhấn vào nút <Ký số> để thực hiện ký số.
Văn bản (Text)/ HyperlinkBắt buộc

Cho phép người dùng nhấn vào link thông báo điều hướng sang màn hình Cyber để thao tác ký số

Hiển thị thông tin đường link dẫn để ký số hợp đồng

ThoátNút chức năng (Button)Không bắt buộcSau khi nhấn nút, hệ thống đóng pop-up và quay về màn hình "Ký số hợp đồng"

Cho phép người dùng đóng pop-up

4.1.2 Màn hình pop-up lỗi

STT

Field

(Trường dữ liệu)

Type

(Kiểu dữ liệu)

Required

(Bắt buộc)

Validation

(Quy định)

Description

(Mô tả)


Đã xảy ra lỗi khi thực hiện ký số. <Mã lỗi- mô tả lỗi>. Vui lòng thử lại sau.Văn bản (Text)Bắt buộc


Hiển thị thông báo lỗi kết nối từ BPM sang Cyber

Nút ThoátNút chức năng (Button)Không bắt buộcSau khi nhấn nút, hệ thống đóng pop-up, tự động lưu nháp thông tin và quay về màn hình "Ký số hợp đồng"

Cho phép người dùng đóng pop-up


4.2 Màn hình Tab Thông tin ký số được lưu trữ tại menu quản lý hợp đồng Tab Thông tin ký số

STT

Field

(Trường dữ liệu)

Type

(Kiểu dữ liệu)

Required

(Bắt buộc)

Validation

(Quy định)

Description

(Mô tả)


Mã hợp đồng xContractVăn bản (Text)Bắt buộc
  • Hệ thống tự động cập nhật khi tích hợp thông tin thành công sẽ trả về mã hợp đồng xContract
  • Không cho phép thêm/sửa/xóa
Hiển thị thông tin mã hợp đồng xContract

 Trạng tháiVăn bản (Text)Bắt buộc
  • Hệ thống tự động cập nhật trạng thái :
  1. Hoàn thành
  2. Bị từ chối
  3. Hết hạn
  • Không cho phép thêm/sửa/xóa
Thể hiện trạng thái ký số của hợp đồng

Lý doVăn bản (Text)Không bắt buộc
  • Hệ thống tự động cập nhật lý do tương ứng với trạng thái ký (trong trường hợp lỗi hoặc từ chối ký)
  • Không cho phép thêm/sửa/xóa
Hiển thị lý do của trạng thái ký số hợp đồng

Thời gian phản hồiDate timeBắt buộc
  • Hệ thống tự động cập nhật  theo thời điểm hệ thống nhận được phản hồi trạng thái ký từ hệ thống ký số theo format YYYY-MM-DD HH:mm:ss 
  • Không cho phép thêm/sửa/xóa
Hiển thị thời gian phản hồi khi ký số